Table of Contents
RCB-6A 와 RCB-6B
산업용 또는 가정용으로 사용할 수 있는 6접점 무선 리모콘입니다. 동작은 매우 단순합니다. 송신리모콘 1번 버튼을 누르면, 1번 릴레이가, …. 6번 버튼을 누르면 6번 릴레이가 ON 또는 OFF 됩니다.
동작 모드
DIP S/W를 이용하여 각각의 릴레이 출력 모드를 설정할 수 있습니다.
결선도
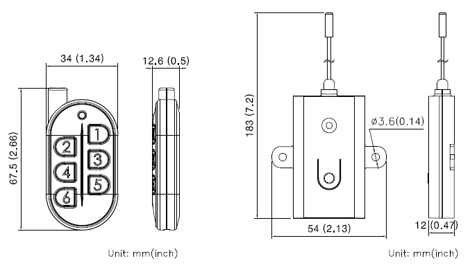
CRFM-6KEY 리모콘 송수신부 외형 칫수
산업용 또는 가정용으로 사용할 수 있는 6접점 무선 리모콘입니다. 동작은 매우 단순합니다. 송신리모콘 1번 버튼을 누르면, 1번 릴레이가, …. 6번 버튼을 누르면 6번 릴레이가 ON 또는 OFF 됩니다.
DIP S/W를 이용하여 각각의 릴레이 출력 모드를 설정할 수 있습니다.